2024.11.28
출처
프레딧 이벤트 얼려먹는 야쿠르트 먹고 닌텐도포켓몬 쿠폰 받는 방법
잇님들 안녕하세요! 이번 포스팅은 매달 소개 드리는 프레딧 이벤트 중 가장 따끈따끈하고 핫 한 이벤트를 ...
나이키 3D "맥스 1000" 25연도? 정식발매 몇가지 컬러까지 아니..이거 좀 기대됩니다 3D에 에어맥스라니?
" 나이키 " with 컴플렉스 콘 컴플렉스 콘 관련 글을 2개를 작성을 하고 그 당시에 발매를 한 제...
나이키 with 톰삭스 "Mars Yard 3.0s" 샘플? 5,000$? 3번째 모델은 진짜 나올것인가? 또 GPS일까?
" 나이키 " 예전부터 협업을 같이 해온 파트너 제 입장에서는 엄청난 고가 스니커즈의 아티스트...
좀비베리어 애플워치 41mm 풀커버 보호필름 후기
안녕하세요 뚜비입니다 하루에 10시간 이상은 애플워치를 착용하고 있는데 손목에 착용하다보니 이리저리 ...
닌텐도스위치2 출시일 기존 생산량 묻고 더블로 가!
닌텐도스위치2 출시일 기존 생산량 묻고 더블로 가! 최근 Nintendo Switch 2세대에 대한 새로운 정보가 ...
오사카 유니버셜스튜디오 닌텐도월드 확약권 예약
유니버셜스튜디오 재팬 주소 : 2-1-33 Sakurajima, Konohana-Ku, Osaka 554-0031 Osaka Prefecture ...
인사일런스 겨울 무신사 블랙프라이데이 남자 코트 패딩 니트 추천해요
패션을 좋아하시는 많은 분들의 축제 무신사 겨울 블랙 프라이데이 시즌이 돌아왔습니다 다양한 브랜드들에...
닌텐도 스위치 조이콘 메탈걸쇠 교체
안녕하세요. 요트 황윤상입니다. 닌텐도 스위치 조이콘 메탈 걸쇠로 교체하였습니다 입고당시 딱히 이상은 ...
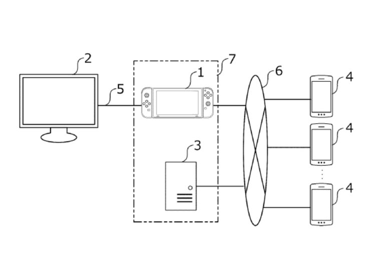
스마트폰 컨트롤러 특허, 닌텐도 스위치2 가능성 엿보다
닌텐도 스위치2 출시를 앞두고 작은 뉴스 하나에도 화제가 되는 닌텐도이기도 합니다. 이번에는 닌텐도에서...
Q 리마스터드 닌텐도 스위치 스팀 퍼즐 게임 추천 후기
컷더로프 같은 모바일 게임부터 말랑말랑 두뇌학원이나 수박 게임, 스도쿠, 네모네모 로직 같은 퍼즐 게임 ...