2025.01.08
출처
최화정 유튜브 송중기 편 카누 캡슐 커피머신 홈 카페 에스프레소
최화정님의 유튜브에 송중기님이 나오셨는데요. 와이프의 대한 팔불출 면모를 보이시는데요. 최화정님이 송...
부산 서면 등관리 잘하는 29년 경력의 루안에스테틱
연말이라 늘어난 업무량에 저의 어깨와 등은 휴식이 필요해라고 외치는 듯했어요 힐링이 필요했던 나의 몸 ...
아우틴 나노 휴대용 에스프레소 머신 & 보호케이스 아우틴 나노 트래블러 캠핑 커피머신 끝판왕 Oution Nano 카누 네스프레소 캡슐커피 내돈내산
아우틴 나노 휴대용 에스프레소 머신 CRIMSON RED 색상 & 전용 보호 케이스 11월 24일 주문 ...
양산 물금짜장면 가성비 좋고 맛있는 물금아라돌짜장
오늘은 양산 물금역 근처에 위치한 물금짜장면 맛집 물금아라돌짜장에서 맛본 돌짜장 후기를 공유하려고요 ...
기브앤테이크 리버커 자기계발 베스트셀러
애덤 그랜트 저자의 기브앤테이크 세계 최고의 조직심리학자가 밝혀낸 성공의 숨은 동력 "주는 사람이...
양산고기집 한우한마리에서 한우소불고기정식 맛본 후기
오늘은 양산 북부동에 위치한 양산고기집 한우한마리에 다녀왔는데요 제가 먹어본 한우불고기정식 맛본 후...
부산 서면 밥집 시민공원 근처 갈비탕 맛집 강갈비탕
부산 서면 밥집을 찾다 보면 늘 고민이 생겨요 무엇을 먹을지 어디가 맛있는지 이번에는 부산 시민공원 근...
가치투자 실천 바이블 성공하는 주식 투자자를 위한 주식투자서
가치투자 실천 바이블 도서는 주식투자 처음 시작하거나 가치 투자에 대해 깊이 알고 싶은 분들에게 도움이...
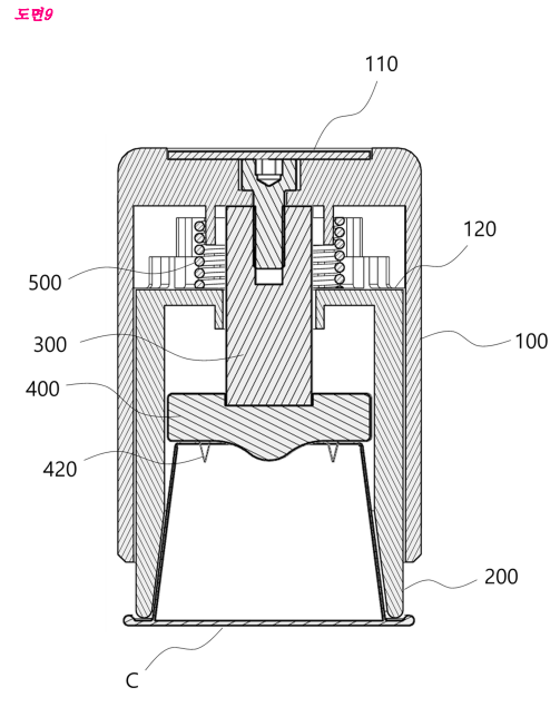
동서 / 동서 식품/ 카누 바리스타 캡슐 관련 특허는 뭐가 있을까?
동서 식품에서 제일 최근에 등록한 특허이자 카누 바리스타 캡슐 관련 특허에는 뭐가 있을까? 이는 카누 바...
나에게 온 크리스마스 선물 카누 바리스타 캡슐 커피머신 페블 내돈내산 후기
벌써 12월도 10일 밖에 남지 않았네요! 그렇다니!!!! 그렇다니!!!! 무슨 항상 상반기는 제법 천천히 가는거...