2025.12.22
출처
미래를 읽다 과학이슈11 시즌 12 #청소년 #최근과학이슈
주식 투자를 시작하고 나니까 세상에 관심이 많아졌다. 최근에 핫한 이슈를 알기 위해서 경제 관련 인스타 ...
데일카네기 인간관계론 #옮긴이 최미르 #자기계발 #데일카네기인간관계론 #인간관계
"관계"는 태어나는 순간부터 생긴다. 아니 이미 태아에게도 부모라는 관계가 존재한다. 나이를 ...
백준 알고리즘 1003번 피보나치함수 #JAVA 자바 #시간초과 #재귀함수
백준 알고리즘 1003번 피보나치함수. Java로 풀어봤다. 피보나치 수열을 함수로 만들어서 입력값에 따른 &...
파이썬 문법 #11 리스트 관련 함수 append, sort, reverse, index
안녕하세요~ 나농E에요. 오랜만에 파이썬 리스트 관련 함수를 정리해서 왔어요! append, sort, reverse, i...
파이썬 문법 #12 리스트 관련 함수 insert, remove, pop, count, extend
이전 포스팅에 이어서 리스트 함수에 대해 알아볼게요. 리스트 관련으로는 마지막 포스팅! 오늘 살펴볼 함...
파이썬 문법 #13 튜플 자료형 다루기 /인덱싱,슬라이싱,더하기,곱하기,길이구하기
이전 포스팅까지 해서 파이썬 리스트 관련 학습이 끝났다. 그 다음 배울 내용은 바로 튜플! 튜플은 리스트...
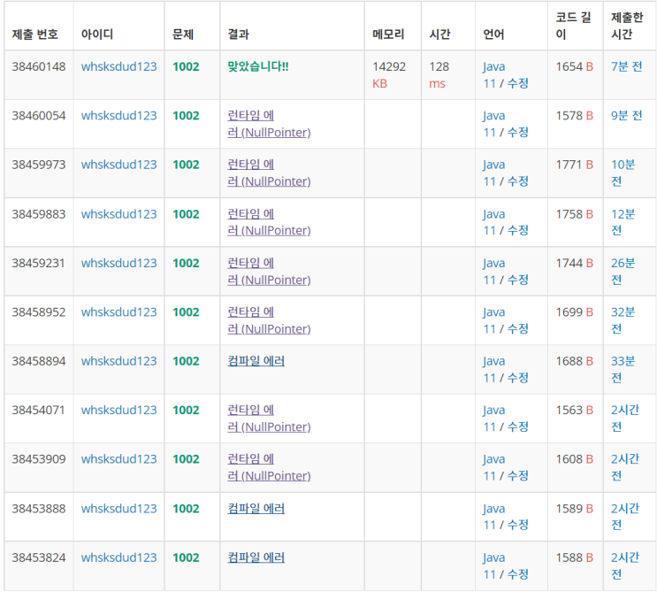
백준 알고리즘 1002번 터렛 #JAVA 자바 #Nullexception #StringTokenizer
갑자기 java 공부를 하고 싶어서 백준 알고리즘 홈페이지에 들어갔다. 1001번까지 풀었길래 1002번을 봤는...
법 좀 아는 언니 by 이웃집변호사 #사회비평 #법좀아는언니 #여성관련법
살다 보면 "법"이 필요할 때가 온다. 집을 구하거나 근로자가 되는 것처럼 일상적인 케이스도 있...
회사에서는 일만 하고 싶다 by 최정우 #자기계발 #회사스트레스 #자기계발서
우리는 일을 한다. 큰 부귀영화를 원하는 것도 아니고, 단지 적당한 생활 수준을 유지하기 위해서 말이다. ...
베스킨라빈스31 모찌 시식후기! #티라미수모찌 #인절미모찌
☆내돈내산☆ 안녕하세요~ 맛난 간식 후기 들고 온 나농E에요! 베스킨라빈스31 쿠폰이 생겨서 아이스크림 ...